Page 213 - The 12th Graduate Integrity Conference Proceeding
P. 213
ู
ั
้
ั
ั
ู
ุ
็
ู
่
ี
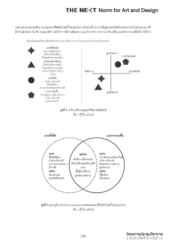
แสดงจุดเดนและจุดดอย ของคุณสมบติผลิตภัณฑทงสองรปแบบ (ตามรูปท 4) จากขอมลแสดงใหเหนจดเดนรวมกนสองรปแบบซง ึ ่
่
่
ั
้
ู
ื
ี
ี
่
ั
ั
ื
ั
ุ
มความสัมพนธ กน คอ คณสมบติการเขาถงการใชงานทสะดวก ดแลรักษางาย สามารถปรับเปลียนและจดวางตามพนทการใชงาน
ึ
ี
ั
ิ
ุ
ั
ู
รปท 3 เปรียบเทยบคณสมบตของผลิตภณฑ
่
ี
ี
่
ั
ู
ทมา: ผวจย (2563)
ิ
ี
้
ู
ั
ี
ิ
ู
่
ั
ิ
ั
ิ
รปท 4 แผนภูมเวนน (Venn Diagram) แสดงคุณสมบตผลตภณฑทงสองรปแบบ
ี
ทมา: ผวจย (2563)
่
ิ
ั
ู
204

